Ball valve dimensions
Ball valve dimensions trong thế giới của các thiết bị công nghiệp, van bi, hay còn gọi là ball valve, đóng vai trò vô cùng quan trọng. Được biết đến với khả năng điều tiết dòng chảy một cách hiệu quả và linh hoạt, van bi là một trong những thiết bị không thể thiếu trong nhiều hệ thống kỹ thuật. Để hiểu rõ hơn về sản phẩm này, bài viết dưới đây sẽ cung cấp cái nhìn tổng quan, từ định nghĩa, cấu tạo, cho tới các thông số kích thước cơ bản và cách lựa chọn phù hợp.
Tổng quan ball valve dimensions
Định nghĩa ball valve dimensions
Ball valve dimensions là các thông số kỹ thuật của van bi, bao gồm kích thước, đường kính, chiều dài và các yếu tố liên quan khác. Những thông số này không chỉ ảnh hưởng đến khả năng hoạt động của van mà còn quyết định sự phù hợp của van với từng ứng dụng cụ thể. Một van bi với kích thước không phù hợp có thể gây ra sự cố trong hệ thống hoặc làm giảm hiệu suất hoạt động.

Vai trò và ứng dụng của van bi
Van bi có vai trò quan trọng trong việc điều tiết dòng chảy của các chất lỏng và khí trong hệ thống đường ống. Nhờ thiết kế đơn giản nhưng hiệu quả, van bi được sử dụng rộng rãi trong nhiều ngành công nghiệp như dầu khí, hóa chất, nước sạch và xử lý nước thải. Khả năng đóng mở nhanh chóng và độ kín cao giúp van bi trở thành lựa chọn lý tưởng cho nhiều ứng dụng khác nhau.
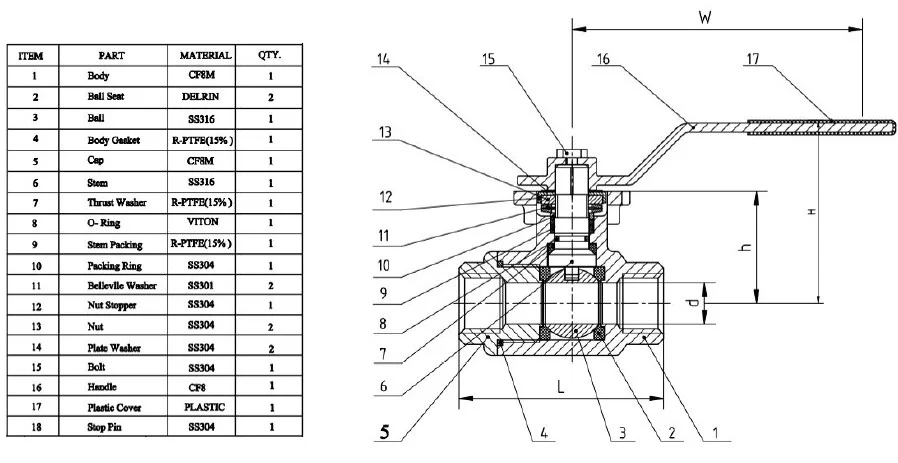
Cấu tạo và nguyên lý hoạt động của van bi
Cấu tạo cơ bản của van bi
Van bi thường được cấu tạo từ ba phần chính: thân van, bi van và tay gạt. Thân van là phần chịu áp lực chính, bảo vệ bi van bên trong. Bi van có lỗ xuyên tâm, cho phép dòng chảy đi qua khi van mở và ngăn chặn dòng chảy khi van đóng. Tay gạt được sử dụng để điều khiển trạng thái mở hoặc đóng của van.
Nguyên lý hoạt động
Nguyên lý hoạt động của van bi khá đơn giản. Khi tay gạt được xoay 90 độ, bi van cũng xoay theo, mở hoặc đóng lỗ xuyên tâm. Điều này cho phép hoặc ngăn chặn dòng chảy qua van. Thiết kế này không chỉ giúp van bi hoạt động hiệu quả mà còn giảm thiểu khả năng rò rỉ.

Hãy liên hệ với chúng tôi để tìm hiểu thêm về sản phẩm phù hợp với nhu cầu của bạn
Các thông số kích thước cơ bản của van bi
Đường kính bên trong và bên ngoài
Đường kính bên trong của van bi quyết định lượng chất lỏng hoặc khí có thể đi qua van. Đường kính bên ngoài ảnh hưởng đến khả năng lắp đặt và kết nối của van với các thiết bị khác trong hệ thống. Việc chọn đúng kích thước đường kính là yếu tố quan trọng để đảm bảo hiệu suất hoạt động tối ưu.
Chiều dài tổng thể
Chiều dài tổng thể của van bi ảnh hưởng đến không gian lắp đặt và sự phù hợp với các hệ thống hiện có. Một van quá dài hoặc quá ngắn có thể gây ra khó khăn trong việc lắp đặt và bảo trì.
Kích thước kết nối
Kích thước kết nối của van bi bao gồm các thông số như kích thước ren, tiêu chuẩn mặt bích, và các yếu tố khác liên quan đến việc kết nối van với hệ thống đường ống. Đảm bảo rằng kích thước kết nối phù hợp là điều cần thiết để tránh rò rỉ và đảm bảo hiệu suất hoạt động.
Áp suất và nhiệt độ hoạt động
Van bi phải được lựa chọn để chịu được áp suất và nhiệt độ hoạt động của hệ thống. Các thông số này thường được ghi rõ trong tài liệu kỹ thuật của nhà sản xuất và cần được xem xét kỹ lưỡng để đảm bảo an toàn và hiệu suất.
Lựa chọn và ứng dụng van bi dựa trên kích thước
Tiêu chí lựa chọn van bi phù hợp
Khi lựa chọn van bi, các tiêu chí quan trọng bao gồm kích thước, chất liệu, áp suất, nhiệt độ và ứng dụng cụ thể. Việc lựa chọn đúng van bi không chỉ đảm bảo hiệu suất hoạt động mà còn kéo dài tuổi thọ của hệ thống.
Ứng dụng theo ngành và môi trường sử dụng
Van bi được sử dụng trong nhiều ngành công nghiệp khác nhau, từ dầu khí, hóa chất, cho đến xử lý nước và thực phẩm. Mỗi ngành có yêu cầu riêng về kích thước và chất liệu của van để đảm bảo an toàn và hiệu quả.
Kết luận
Ball valve dimensions là yếu tố quan trọng cần xem xét khi lựa chọn và sử dụng van bi. Hiểu rõ về các thông số kích thước và cách chúng ảnh hưởng đến hoạt động của hệ thống sẽ giúp bạn đưa ra quyết định đúng đắn. Van bi không chỉ là một thiết bị đơn giản mà còn là một phần không thể thiếu trong nhiều ứng dụng kỹ thuật, đảm bảo sự ổn định và hiệu quả của hệ thống. Với sự phát triển không ngừng của công nghệ, việc hiểu rõ và lựa chọn đúng ball valve dimensions sẽ mang lại lợi ích lớn cho doanh nghiệp và hệ thống của bạn.
Rất mong các bạn quan tâm và theo dõi thepkhonggi.vn để cập nhật thông tin mới nhất về ball valve dimensions!